Apple запатентовала фотоаппарат с постфокусировкой

ПОДЕЛИТЬСЯ

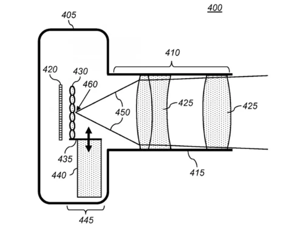
Apple запатентовала фотоаппарат с постфокусировкой Фрагмент иллюстрации к патентной заявке Apple с сайта USPTO

Корпорация Apple получила патент (№8593564, выдан Патентным бюро США) на цифровую фотокамеру с функцией постфокусировки, сообщает Lenta.ru. На снимках область резкости можно определять после того, как фотография была сделана. В камере, как и в фотоаппарате Lytro, используется массив микролинз, с помощью которого фиксируется информация о световом поле снимаемой сцены. Отличие заключается в том, что камера Apple может делать как фотографии с изменяемой зоной резкости, так и "обычные" снимки. Фотоаппарат Lytro, запущенный в продажу в 2011 году, позволяет делать фото с возможностью постфокусировки и считается первой массовой пленоптической камерой. В патенте Apple имеются ссылки на работы Рена Нг (Ren Ng), создателя Lytro. Издание отмечает, что сооснователь Apple Стив Джобс интересовался камерой Lytro. Незадолго до смерти Джобс пригласил к себе домой Рена Нг, и тот продемонстрировал возможности фотоаппарата.


Корпорация Apple получила патент (№8593564, выдан Патентным бюро США) на цифровую фотокамеру с функцией постфокусировки, сообщает Lenta.ru. На снимках область резкости можно определять после того, как фотография была сделана. В камере, как и в фотоаппарате Lytro, используется массив микролинз, с помощью которого фиксируется информация о световом поле снимаемой сцены. Отличие заключается в том, что камера Apple может делать как фотографии с изменяемой зоной резкости, так и "обычные" снимки. Фотоаппарат Lytro, запущенный в продажу в 2011 году, позволяет делать фото с возможностью постфокусировки и считается первой массовой пленоптической камерой. В патенте Apple имеются ссылки на работы Рена Нг (Ren Ng), создателя Lytro. Издание отмечает, что сооснователь Apple Стив Джобс интересовался камерой Lytro. Незадолго до смерти Джобс пригласил к себе домой Рена Нг, и тот продемонстрировал возможности фотоаппарата.
Tengrinews
Читайте также

Курс валют

 471.99   547.77   6.66 

 

Погода

Алматы
А
Алматы +15
Астана +20
Актау +21
Актобе +24
Атырау +29
Б
Балхаш +20
Ж
Жезказган +17
К
Караганда +13
Кокшетау +17
Костанай +19
Кызылорда +17
П
Павлодар +13
Петропавловск +14
С
Семей +13
Т
Талдыкорган +19
Тараз +25
Туркестан +26
У
Уральск +10
Усть-Каменогорск +26
Ш
Шымкент +17

 

Редакция Реклама
Социальные сети