Американцы потратили 11 миллиардов долларов на модернизацию смартфонов в 2013 году Американцы потратили 11 миллиардов долларов на модернизацию смартфонов в 2013 году Почти половина этой суммы - 5,4 миллиарда долларов - приходится на смартфоны iPhone от Apple.
21 декабря 2013 02:39
Результаты EPSI 2013: Потребители считают Kcell лучшим брендом по качеству услуг и обслуживания Результаты EPSI 2013: Потребители считают Kcell лучшим брендом по качеству услуг и обслуживания Исследование EPSI Rating - это независимый проект по измерению Общеевропейского Индекса удовлетворенности потребителей.
12 декабря 2013 11:00
Panasonic запускает новые модели DECT-телефонов Panasonic запускает новые модели DECT-телефонов Пополнив сегмент средней ценовой группы, новинки совместили в себе традиционное качество беспроводных телефонов Panasonic и новые уникальные опции.
10 декабря 2013 11:56
"Байконур" станет местом для баталий в новом шутере Destiny "Байконур" станет местом для баталий в новом шутере Destiny Помимо видоизмененного "Байконура" локациями в шутере станут затопленные города Венеры, Марс и цитадель на Луне.
09 декабря 2013 14:32
Магазины электроники и бытовой техники "Мечта" и "Атлант" объединились Магазины электроники и бытовой техники "Мечта" и "Атлант" объединились Общим решением было принято объединить обе компании под брендом "Мечта".
09 декабря 2013 11:56
Телевизор с изогнутым экраном LG CURVED OLED TV поступил в продажу в сеть магазинов "Мечта" Телевизор с изогнутым экраном LG CURVED OLED TV поступил в продажу в сеть магазинов "Мечта" Изогнутая форма экрана повторяет округлую форму глаза зрителя, тем самым изображение полностью оказывается в поле зрения, создавая ощущение полного погружения зрителя в события на экране.
06 декабря 2013 11:36
Компьютерные игры и мультфильмы появятся на сайте Минобороны Казахстана Компьютерные игры и мультфильмы появятся на сайте Минобороны Казахстана Таким образом Минобороны планирует заинтересовать молодежь армейской тематикой.
27 ноября 2013 18:03
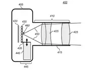
Apple запатентовала фотоаппарат с постфокусировкой Apple запатентовала фотоаппарат с постфокусировкой На снимках область резкости можно определять после того, как фотография была сделана. В камере, как и в фотоаппарате Lytro, используется массив микролинз.
27 ноября 2013 07:21
Концепт iPhone 6 представил казахстанец Icon Концепт iPhone 6 представил казахстанец Его разработка заинтересовала многих дизайнеров и компании. Сейчас Искандер Утебаев собирается отправить окончательную версию в компанию Apple.
25 ноября 2013 14:53
Apple и Samsung по объему памяти опередил китайский смартфон Apple и Samsung по объему памяти опередил китайский смартфон В новый смартфон компании Meizu встроен накопитель памяти на 128 гигабайт, что делает его самой емкой моделью в мире.
19 ноября 2013 15:06
В Астане открылся самый большой магазин электроники и бытовой техники "Мечта" В Астане открылся самый большой магазин электроники и бытовой техники "Мечта" В честь открытия 7 ноября были объявлены грандиозные скидки и акции.
18 ноября 2013 09:58
Motorola выпустит беспроводной микрофон в виде татуировки Motorola выпустит беспроводной микрофон в виде татуировки Еще в 2012 году компания подала заявку на патент, в которой описывается беспроводной микрофон, нанесенный на шею человека в виде татуировки.
11 ноября 2013 20:05
iPhone с изогнутым экраном разрабатывает Apple iPhone с изогнутым экраном разрабатывает Apple Новые устройства могут также стать самыми большими смартфонами от Apple.
11 ноября 2013 11:32
Смартфоны Lenovo в Казахстане  поступили в официальную продажу Icon Смартфоны Lenovo в Казахстане поступили в официальную продажу Компания впервые пришла на рынок мобильных телефонов республики с четырьмя категориями телефонов- P- для профессионалов, S - для стильных, K - для увлеченных технологиями и A - начального уровня.
11 ноября 2013 09:04
Все мобильные телефоны в России оборудуют системой ГЛОНАСС Все мобильные телефоны в России оборудуют системой ГЛОНАСС Требования об обязательной установке оборудования, которое поддерживает систему ГЛОНАСС на мобильных телефонах, распространят на изготовителей и продавцов сотовых телефонов.
07 ноября 2013 20:02
Видеорегистратор для пешехода придумал житель Астаны Видеорегистратор для пешехода придумал житель Астаны Пенсионер переделал автомобильный видеорегистратор так, что его можно носить с собой - в сумке или на одежде.
30 октября 2013 10:11
Ошибку в iOS 7 вызвал переход на зимнее время Ошибку в iOS 7 вызвал переход на зимнее время Пользователи из стран, где осуществляется переход с летнего времени на зимнее, пожаловались, что после перевода часов в устройствах на iOS 7 у них возникла ошибка в приложении "Календарь".
29 октября 2013 14:02
Apple представила новый iPad Apple представила новый iPad Новый планшет получил название iPad Air. Как и ожидалось, iPad Air сохранил 9,7-дюймовый экран и получил более тонкий и легкий дизайн.
23 октября 2013 01:49
Nokia представит свой первый планшет в день презентации нового iPad Nokia представит свой первый планшет в день презентации нового iPad Финская Nokia Corp. представит шесть новых устройств, включая свой первый планшетный компьютер, 22 октября.
22 октября 2013 05:42

Курс валют

 469.92   546.77   6.43 

 

Погода

Алматы
А
Алматы +20
Астана +21
Актау +22
Актобе +25
Атырау +26
Б
Балхаш +22
Ж
Жезказган +20
К
Караганда +24
Кокшетау +24
Костанай +24
Кызылорда +17
П
Павлодар +25
Петропавловск +17
С
Семей +20
Т
Талдыкорган +19
Тараз +30
Туркестан +27
У
Уральск +15
Усть-Каменогорск +33
Ш
Шымкент +19

 

Редакция Реклама
Социальные сети